...
Автомобил

Apple Car: Siri водич за автономно возило без волан и нови патенти

Во последните патентни известувања се открива дека Apple продолжува да работи на својот автомобилски проект, без разлика што некои претпоставуваа одложување. Нови концепти за дизајн и иновации ги освежуваат шпекулациите за тоа како би изгледал Apple Car и која улога би ја имал Siri во неговото работење на дестинацијата.

Apple Car: Siri водич за автономно возило без волан и нови патенти

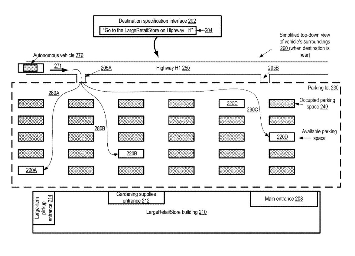
Според апликацијата за патент наречена „Гид за користење на сигнали за време на достигнување на дестинации за автономни автомобили“, автономниот автомобил на Apple би можел да биде под директива на гласен контролен механизам преку Siri, дури и кога потребна е паркинг локација по пристигнувањето. Значајно е што ова решение би можело да ја елиминира потребата од воланот и други физички контроли за управување со возилото, со што се нагласува концептот на целосно гласовно управување на возилото.

Наводите укажуваат дека секој во кабината би можел да ги активира овие функции. На пример, доколку еден патник оди во продавница да земе градинарски материјали, автомобилот би можел да паркира веднаш до влезот на продавницата на барање преку Siri, или да застане на главниот влез на паркингот. Ова покажува како гласовните команди би можеле да ги редефинираат задачите за паркирање и престој на локација без потреба од физички интерфејс.

Apple Car: Siri водич за автономно возило без волан и нови патенти

Патентот додава дека оваа технологија би ја користел секој од возилото, а не само одредено лице, што ја акцентира колаборативната природа на контрола преку глас. Како што развојот на автономните возила напредува, овие иновации предизвикуваат разговори за тоа колку брзо ќе се интегрираат во секојдневието и дали ваквите технологиски пресврти ќе станат стандард во иднината.

Напишете коментар

Вашата адреса за е-пошта нема да биде објавена. Задолжителните полиња се означени со *