...
Автомобил

Apple Car проследување: Патент за кров и тековни развојни насоки

Во последните години се продлабочува развојниот курс на Apple во светот на автономните возила. Проектот Titan, попознат како Apple Car, продолжи да се труди да собере различни идеи, иако дел од извештaите сугерираат дека проектот би можел да биде откажан, додека други тврдат дека Apple се насочува кон технологиите за автономно возење.

Apple Car проследување: Патент за кров и тековни развојни насоки

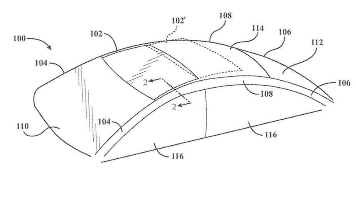
Новиот патент кој неодамна излегува на виделина ја прикажува иднината на футуристичниотавтомобилен кров со напредни можности. Патентот за кровот го привлекува вниманието и детално ги опишува структурата и контролите на непро transparentност, што омогу́лува рачно менување на нивото на сончева светлина која влегува во кабината. Вкупно, Apple поднесе апликација за патент во октомври 2020 година, а одобрението доаѓа во првата половина на оваа година.

Во документот се објаснува дека возачот може да ја контролира рефлексијата на сончевата светлина преку прозорецот, со можност за регулирање на прозирноста на дел од кровот. Дополнително, патентот ги опишува и механизмите поврзани со системот на кровот, кој овозможува прилагодување на параметрите за светлина во кабината.

Иако Apple продолжува да поднесува патенти за автомобилите, продолжуваат и промените во тимот. Во септември 2021 година, лидерот на Project Titan и главниот инженер на Ford се повлекле од тимот. И покрај тоа, оптимистите веруваат дека Apple ќе ја најде потребната индустриска поддршка за Apple Car, и дека 2025 година би можела да стане година на прототипот.

Напишете коментар

Вашата адреса за е-пошта нема да биде објавена. Задолжителните полиња се означени со *