...
Автомобил

Apple Car: Инженерски потези и патенти во светот на електрични возила

Работите на развојот на електричниот автомобил од Apple продолжуваат да се привлекуваат вниманието на јавноста. Во одредени извештаи се повторува дека компанијата развива модел кој би можел да го носи името Apple Car, иако официјално соопштение сѐ уште не е објавено. Ги укажуваат регистрираните патенти како доказ за напредок во иновациите и дизајнот.

Apple Car: Инженерски потези и патенти во светот на електрични возила

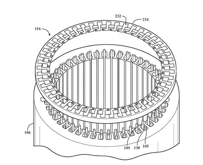
Според последните извештаи, двигателот на Apple Car би можел да се следи по инспирација од конвенционалните концепти на Tesla. Патентот потврдува развој на мотор кој може да работи со AC индуктивен мотор, со што Apple истражува варијанти за мотор кој би бил отпорен на водни услови и оптимизиран за моторното ледомирање.

Apple Car: Инженерски потези и патенти во светот на електрични возила

Истражувањата укажуваат дека Apple работи на триполен AC Индуктивен мотор, каде структурата за ладење игра клучна улога. Патентниот документ број 10,630,127 детално ги опишува системите за електрични мотори за автомобили, вклучувајќи варијанти како водоотпорен мотор со спроведување на ротација на статорот. Ова сугерира дека Apple се стреми кон интегрирани решенија кои ќе овозможат подобра термална дистрибуција во моторот.

Паверлијата на употреба на Tesla технологија за индуктивна решетка се појавува како можен инспиративен извор за дизајнот на Apple Car. Аналитичките процени сугерираат дека асинхронските мотори можат да понудат повисок стартер вртежен момент и потенцијално пониски трошоци за одржување, што ги прави попримамливи за не-презпетно теренско возило. Контрастот со синхроните мотори со статичен магнет се гледа како предизвик во сферата на цена и одржување за други производители.

Сепак, предизвикот во примената триполниот AC индуктивен мотор останува голем, поради потребата од напредна контрола и напорната технологија за дистрибуција на топлина. Во патентот за моторот на Apple Car нагласено е дека техничкото решение за ладење е σχεено со структурата на последната круница и термално водливата поврзаност со ротацијата, што одразува фокусот на термалната ефикасност и издржливоста на системот.

Напишете коментар

Вашата адреса за е-пошта нема да биде објавена. Задолжителните полиња се означени со *