Патент за футрола за iPhone и iPad кои поддржуваат сателитска комуникација: Модуларен заден дел за зајакнување на сигналот
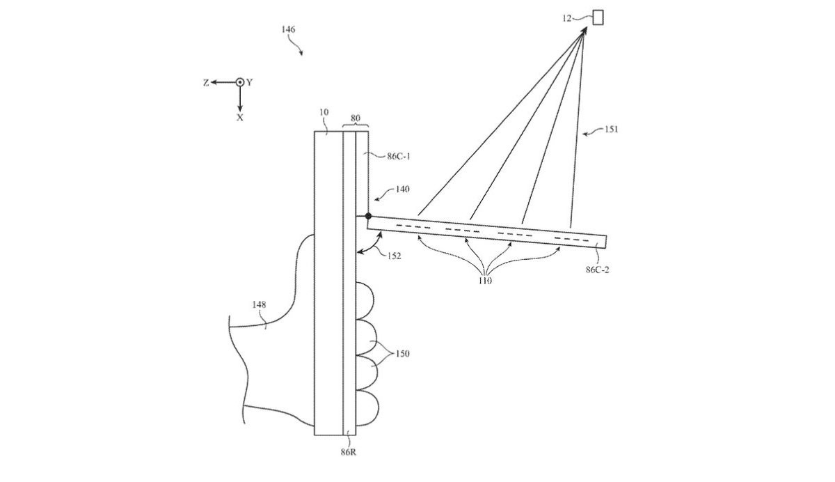
Apple продолжува да ги проширува сателитските врски на моделите iPhone и се укажува на интересен патент во овој план. По одобрувањето на претходните истражувања, оваа откритие има за цел да го зајакне сигналот од сателитите со специјален модул на задниот дел од чохолот.
Говори се дека тој случај, дури и кога корисникот држи телефон, не доведува до губење на сигнал затоа што нема контакт со модулот. Благодарејќи на антени за зголемување на сигналот внатре во модулот, се наведува дека случајот носи систем сличен на NFC што создава електронска схема за поврзување со телефон. Така случајот може да комуницира со повеќе сателити за да ја зајакне сигналот и да обезбеди постабилна врска.
Наведено е дека овој дизајн е создаден да биде приспособлив и за iPad, а не само за iPhone; сепак, нема прецизни информации за датумот на издавање на пазарот.

