...
Автомобил

Преoтврдување на Ванкеловиот мотор на Mazda: Нови патенти и можната приказна за RX-9

Долг времен се слушаат гласини за повторно враќање на роторниот мотор на Mazda. Иако досега нема конкретен чекор преземен за оваа иницијатива што се очекуваше како наследник на RX-7 и RX-8, предстоечките случувања даваат надеж.

Враќање на Wankel моторот на Mazda: Нови патенти и можната приказна за RX-9

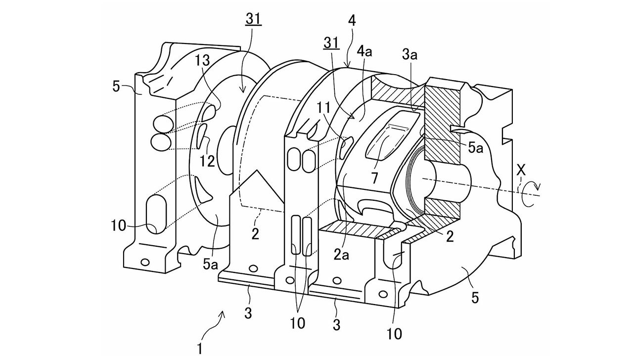
Третманите на јапонската компанија за нови патентни пријави за H2-Mechanism се појавија. Mazda поднесе повеќе барања до Јапонскиот патентен завод со дизајни кои вклучуваат двотронскиот Wankel мотор; се наведува дека овие дизајни не се за зголемување на опсегот, туку за директно производство на моќност за возилото. Имајќи предвид дека во MX-30 се користи само еден тронски систем, се чини дека двотронската структура ќе ја има улогата на нешто различно.

Во овој момент, нема јасна информација за тоа во кое возило ќе се користи овие мотори. Сепак, концептот RX-Vision што беше претставен во минатото, изгледа како погоден кандидат за ова ново моторно решение. Спортскиот автомобил со роторен мотор би можел да создаде значително влијание на пазарот.

Враќање на Wankel моторот на Mazda: Нови патенти и можната приказна за RX-9

Целта на пријавите е јасна: ова дизајнирање на двотронскиот мотор што обезбедува моќност, наместо само да ја зголемува автономијата, треба да се фокусира на перформансите. Исто така, моторот може да работи со електрична единица која е компатибилна и може да ги зголеми економијата на гориво додека возилото е во движење. Патентните барања на Mazda исто така опфаќаат чекори за подобрување на ефикасноста на роторниот мотор и со тоа да се задржи конкурентна потрошувачка на гориво од околу 100 километри.

Со нетрпение го очекуваме идното претставување на оваа технологија во некои модели на Mazda. Што мислите за можноста за враќање на Wankel моторот и RX-9? Можете да ни ги споделите вашите мисли во коментарите.

Напишете коментар

Вашата адреса за е-пошта нема да биде објавена. Задолжителните полиња се означени со *